News
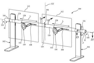
Apple Working on Dual Monitor Stand for Pro Display XDR, Patent Suggests
Apple's existing stands for Display XDR monitor notoriously expensive and we can expect the dual display stand to cost more than its siblings. However, since its just a patent design, it is likely that the product might still be in development stages.
Moscow Launches Online Registration For COVID-19 Vaccination
Moscow launched an online service on Friday for people to book appointments to be vaccinated against COVID19, two days after President Vladimir Putin called for largescale vaccinations.
BJP Failed to Judge MVA's Combined Strength: Devendra Fadnavis on MLC Elections Results
BJP leader Devendra Fadnavis on Friday said his party will analyse the results of legislative council polls and prepare for the next election in a better way.
Lockheed Martin Reveals First Look of MH-60 Romeo Helicopter for the Indian Navy
The MH-60 is famously called Romeo and is known as a helicopter that can hunt submarines deep inside the ocean.
Arjun Rampal Sets the Temperature Soaring With New Instagram Pic, Thanks His 'New Fav Stylist'
Bollywood actor Arjun Rampal showed off his fit form with a new semi-shirtless picture on Instagram. He also credited partner Gabriella Demetriades as his 'new favorite stylist.'
County Moves To Protect Health Staff After Deadly Outbreak
A Maryland health department is taking new steps to protect its workers six months after a coronavirus outbreak killed a veteran employee who was twice denied permission to work from home.
Nasdaq, New Zealand Promise Action After Asian Stock Market Outages
Nasdaq Inc on Friday apologised for an Australian stock exchange outage last month, while the operator of New Zealand's exchange laid out steps it would take after the completion of two independent reviews into security and system issues.
Yediyurappa Appeals to Pro-Kannada Outfits to Give Up Karnataka Bandh Plans on Saturday
Yediyurappa said he is making every effort to take all the communities along. He underlined that he is doing everything to give prominence to Kannada language.
Rein Bazar Election Result 2020 Live Updates: AIMIM Wins Rein Bazar Ward
Rein Bazar election result live updates: Who won and who lost, who all are contesting, who is leading, who is trailing and who is the new Rein Bazar (రెయిన్ బజార్) corporator.
Dabeerpura Election Result 2020 Live Updates: AIMIM Wins Dabeerpura Ward
Dabeerpura election result live updates: Who won and who lost, who all are contesting, who is leading, who is trailing and who is the new Dabeerpura (డబీర్పురా) corporator.
Zydus Cadila Gets DGCI Nod for Phase 3 Covid Vaccine Clinical Trials with Biological Therapy
In a regulatory filing, Zydus Cadila said it has received approval from the DCGI to start the phase 3 clinical trials in COVID-19 patients with its biological therapy Pegylated Interferon alpha-2b or PegiHep.
Explosion At South African Oil Refinery In Durban
There was an explosion at South Africa's secondlargest crude oil refinery in Durban on Friday morning, a local metropolitan police official told Reuters, adding it was not yet clear whether there had been injuries or deaths.
Kiara Advani Reveals What Her Bio Would Read if She Joined a Dating App
Actress Kiara Advani said she has never joined a dating application and if she ever did so her bio would read that she was only looking for love.
Here's the Complete Cast of Marvel Studios Series 'Hawkeye'
The show, which hails from Kevin Feige-led Marvel Studios, will revolve around actor Jeremy Renner's Marvel Cinematic Universe (MCU) character Clint Barton aka Hawkeye.
Malkajgiri Election Result 2020 Live Updates: BJP Wins Malkajgiri Ward
Malkajgiri election result live updates: Who won and who lost, who all are contesting, who is leading, who is trailing and who is the new Malkajgiri (మల్కాజ్గిరి) corporator.
Mondamarket Election Result 2020 Live Updates: BJP Wins Mondamarket Ward
Mondamarket election result live updates: Who won and who lost, who all are contesting, who is leading, who is trailing and who is the new Mondamarket (మోండా మార్కెట్) corporator.